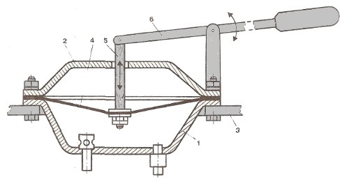
Диафрагменный насос для подъема воды на высоту до 6 м можно сделать из старой тормозной камеры от грузового автомобиля (например, МАЗ-200). Производительность такого насоса — до трех ведер в минуту. Тормозную камеру разбирают. Все отверстия в основании 1, кроме отверстий под болты крепления крышки 2, заглушают. Дополнительно делают два отверстия для установки клапанов. Насос крепят к листу десятимиллиметровой фанеры 3. 
Клапаны делают из отрезков латунных трубок, спаивая детали твердым (тугоплавким) припоем (рис.2). Один шов после сборки всех деталей запаивают мягким (легкоплавким) припоем (на рисунке эти швы помечены звездочками). Клапаны можно установить на основание с помощью эпоксидного клея (шпаклевки). Пружины в клапанах делают из нержавеющей проволоки диаметром около 0,6 мм. Резиновые накладки в клапанах приклеивают (здесь и далее используют клей «Момент» или № 88). 
К диафрагме 4 (см.рис.1) из резины от автомобильной камеры закрепляют латунный шток 5. Он имеет две латунные шайбы, приклеенные к диафрагме. По периметру диафрагма тоже приклеена к основанию, кроме того, она затянута болтами с гайками. Рис. 2 Рычаг 6 делают из подходящей дюралевой трубки.
Таким образом, проявив немного смекалки и труда, можно сделать насос, используя старые детали от автомобилей.
|